新浪博客

激光切割机光路调整教程来了

2018-01-18 18:18阅读:
整激光切割机光路?很多新手客户在购买激光切割机后,对于调整光路这一操作来说还是比较陌生,不过激光切割机厂家都会对客户进行培训。但是,也有不少客户会对操作方法忘记的很快,所以在这里,现在给大家整理了一份关于激光切割机光路调整的教程供大家分享。
为什么要调整光路?
激光切割机自身采用的是飞行式光路系统,在长期的工作时,光路会发生稍微的偏差,会对切割效果有很大的影响。所以,定时的检查光路以及调整是非常必要的工作。调整激光切割机光路之前,我们要对其中激光管、反射镜架以及聚焦镜要有足够的认识,下面我们先来给大家介绍一下。

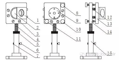
1>.反射镜架A 激光切割机光路调整教程来了
1.光靶放置架 2.反射镜 3.拉簧锁紧螺丝 4.
调节螺杆 5.调节螺母 6.锁紧螺丝 7.锁紧螺丝 8.调节螺丝 9.反射镜锁紧片 10.调节螺丝11.调节螺丝 12.拉簧 13.反射镜安装板 14.支撑板 15.底座
2>.反射镜架B (其安装底板与A镜架不同外其余相同)
激光切割机光路调整教程来了


1.安装底板(可左右移动) 2.锁紧螺丝
3>.反射镜架C

1.反射镜调整板 2.反射镜 3.锁紧螺丝 4.调节螺丝 5.反射镜调整板 6.反射镜压紧板 7.调节螺丝 8.锁紧螺丝 9.调节螺丝
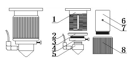
4>.聚焦镜
激光切割机光路调整教程来了
1.聚焦镜内筒 2.进气管 3.限位螺圈 4.气嘴过渡套 5.气嘴 6.镜筒 7.限位螺丝 8.调节套筒
了解了各个部件的名称,下面我们就来教大家调整激光切割机光路的方法:
()
(1)第一道光的调整,用美纹纸贴在反射镜A的调光靶孔上,手动点动出光(注此时功率不要用太大),微调反射镜A的底座及激光管支架,使光打在靶孔中心,注意光不能被挡。
(2)第二道光的调整,将反射镜B移至远程,用张硬纸板由近至远出光,把光导进十字光靶里,因为远程光在靶里边则近端一定在靶里边,接着把近端和远程光斑调为一致,即近端怎偏,远程也跟着怎么偏,使十字架在近端和远程光斑中都处在同一个位置即近是(远是)说明光路与Y轴导轨平行。
(3)第三道光的调整(注:十字架将光斑左右对分),将反射镜C移至远程,把光导进光靶,在进端与远程各打靶一次,对比十字架的位置调成跟近端光斑中十字架的位置一样,这时表明光束与X轴平行。此时光路偏里或外,则需将镜架B上的M1M2M3同松或紧,直至左右对分。
(4)第四道光的调整,用一块美纹纸粘在出光口上,使出光孔在胶纸上留下一个圆形痕迹,点动出光,取下胶纸观察小孔位置,视情况调节镜架C上的M1M2M3直至光斑圆且正为止。
() 焦距的测量方法:用我们激光切割机厂家配的焦距尺,将喷嘴上下升降放在焦距尺的数字5上面,此时的光是最亮最强的,然后紧锁螺丝。
() 以四方块所示(如图)
激光切割机光路调整教程来了
(1)切割面往左偏,激光头太低或垂直光反射镜太高,如图标向D面斜,说明光偏低,二种解决方法:1、放低垂直光反射镜C,将M1M2M3同时逆时针转;2、升高激光管(顺时针)
(2)切割面往右偏,激光头太高或垂直光反射镜C太低,如图标向B面斜,说明光偏高,二种解决方法:1、抬高垂直光反射镜C,将M1M2M3同时顺时针转;2、降低激光管(逆时针)
(3)切割面偏里,激光进垂直光反射镜偏外或反射镜座B偏外,如图标向A面斜,说明光路偏外,二种解决方法:1、调进反射镜座B2、将反射镜B上的M1M2M3同时调进(顺时针)
(4)切割面偏外,激光进垂直光射镜偏里或反射镜座B偏里,如图标向C面斜,说明光路偏里,二种解决方法:1、调出反射镜座B2、将反射镜B上的M1M2M3同时调出(逆时针)
以上就是邦德激光给大家整理的关于激光切割机调整光路的教程。

我的更多文章

下载客户端阅读体验更佳

APP专享